Esta patente de Nintendo tiene más 20 años, y parece mostrar lo que sería una Nintendo 64 con DVD
Últimas fichas
Últimas noticias
Últimas guías

Últimos análisis

Esta patente de Nintendo tiene más 20 años, y parece mostrar lo que sería una Nintendo 64 con DVD

También podría ser un primer prototipo de lo que acabaría siendo GameCube poco después

Pub:
0

Compartir y resumir con IA:

ChatGPT Perplexity Claude WhatsApp X Grok Google AI

Compartir y resumir con IA:

ChatGPT Perplexity Claude WhatsApp X Grok Google AI

¿Cuántos años llevas disfrutando de los videojuegos? Los más veteranos recordarán con especial cariño la época de los años 90, donde teníamos consolones como PlayStation 1 o Nintendo 64. Es de esta última de la que vamos a hablar, consola que nos regaló no sólo grandes juegos, sino algunos de los considerados los mejores de la historia. De hecho, ahí salió The Legend of Zelda: Ocarina of Time, que a día de hoy sigue siendo el juego mejor valorado de la historia en Metacritic.

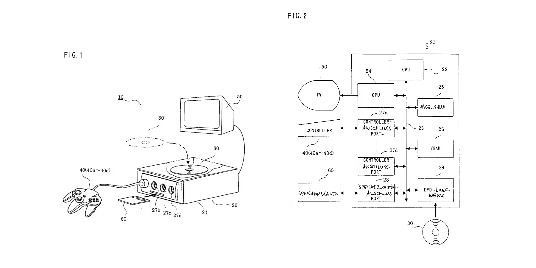
Es una pena que el salto de Nintendo 64 a GameCube fuera tan poco exitoso para Nintendo, ya que la consola morada vendió muy poco en comparación a su predecesora y, especialmente, a Wii, que llegó después. Pero ahora se ha viralizado una patente que es de aquella época y que ya servía de prototipo de GameCube y donde se mostraba una Nintendo 64 que podía leer DVDs, algo que a día de hoy ya incluso se ha quedado atrás, pero que en la época era lo que más se buscaba.

La patente de una Nintendo 64 con DVD

Han sido los compañeros del portal Game Rant los que se han hecho eco de la mencionada patente, que tiene ya más de 20 años:

  • La patente muestra una imagen en la que se ve una consola totalmente cúbica, por lo que parece más una GameCube, y por eso se cree que era un prototipo de GameCube
  • No obstante, el mando que se ve es el de una Nintendo 64, por lo que más probablemente se trataba de una consola que, de forma interna, era una N64 😮
  • Lo importante de esta patente es que Nintendo parecía tener planes de sacar una Nintendo 64 que leyese DVD ❗️
  • No obstante, ya ha pasado tiempo más que suficiente para que veamos que nunca fue así ❌
  • La patente, por cierto, data del año 2001, el mismo año en el que salió GameCube
image 11

A día de hoy, el tema de los DVD se ha quedado desfasado, pero en la época era la moda tras el salto de los CD y las cintas de vídeo que se quedaron atrás. Mucha gente compraba películas en DVD, por lo que era de vital importancia que las consolas leyeran discos DVD. Además de eso, los juegos también podían grabarse en discos DVD que eran mucho más espaciosos que los CD. Eso sí, no tardaron en llegar al estándar que se mantiene a día de hoy: el blu-ray, cuya primera consola que lo tuvo fue PS3 en 2006.

Etiquetado en :

Nintendo Nintendo 64

Redactado por:

Responsable de videojuegos. Jugador enamorado de Persona, Zelda, Super Mario y juegos gachas, pero también me veréis escribiendo sobre PS Plus, ofertas y muchos más juegos.

CONTENIDO RELACIONADO

Tras 23 años de espera, Pokémon Pinball por fin está de regreso... pero con un precio de 6.000 euros: mira esta locura

Pokémon Pinball ha regresado de la forma más loca posible: no es un nuevo videojuego para Nintendo Switch 2, es una máquina real.

Hay sorpresas entre los ganadores de los DICE Awards 2026, pero no en el juego más destacado: Expedition 33 sigue a lo suyo

Se han desvelado los ganadores de la 29ª edición de los DICE Awards, con Expedition 33 como gran protagonista.

La mayor decepción del State of Play fue cosa de Ubisoft por ilusionarnos con una de sus sagas más queridas

El evento de PlayStation contó con la presencia de uno de sus personajes más míticos, pero no de la forma en la que nos hubiera gustado a muchos

Absolum supera las 500.000 copias vendidas y recibe una gran actualización gratuita con nuevo modo de juego

El exitoso beat 'em up de Dotemu y Guard Crush Games estrena la actualización Threads of Fate con Mystic Ordeal, regiones corruptas y cientos de mejoras

Uno de los mayores sueños de los fans de Pokémon podría hacerse realidad: primera generación en Switch y Switch 2

Una última filtración adelanta la llegada de los remakes de Pokémon Rojo y Pokémon Azul (o Verde) a Nintendo Switch 2.

Overwatch revive contra todo pronóstico: qué ha pasado para que vuelva a estar en boca de todos

El shooter de Blizzard estaba contra las cuerdas, pero una serie de decisiones recientes ha cambiado por completo su destino

Nintendo Direct en la tercera semana de febrero con nuevo Mario 3D incluido, según filtra un nuevo reporte

Las fuentes que han iniciado el rumor son las mismas que predijeron el anuncio de Donkey Kong Bananza en la presentación de Switch 2

Nintendo Switch se ha hecho con la exclusividad de un juego con 91 en Metacritic y nadie está hablando de ello

El juego estaba disponible en PC desde 2024, y Nintendo ha conseguido su exclusividad total

Grandes noticias para The Witcher 4: uno de los elementos más infravalorados de The Witcher 3 confirma su regreso, la música

El compositor Marcin Przybyłowicz estará de regreso en The Witcher 4 tras trabajar en The Witcher 2 y 3.

¿Una de las mayores sorpresas de 2026? 89 en Metacritic para este nuevo roguelike de los creadores de The Binding of Isaac

Uno de los mejores juegos de 2026 puede haber llegado por sorpresa: Mewgenics, de la mente tras The Binding of Isaac.

'No contemplamos cerrar': GAME España se convierte en empresa independiente y adelanta mejoras para los clientes

La marca confirma que seguirá más activa que nunca en su país, después de que GAME UK desapareciera completamente hace unos días