PlayStation patenta un sistema con el que podrás completar juegos con ayuda de la IA y sin tocar el mando
Últimas fichas
Últimas noticias
Últimas guías

Últimos análisis

PlayStation patenta un sistema con el que podrás completar juegos con ayuda de la IA y sin tocar el mando

Serviría a modo de guía y enfocado para aquellos usuarios que tengan

Pub:
0

Compartir y resumir con IA:

ChatGPT Perplexity Claude WhatsApp X Grok Google AI

Compartir y resumir con IA:

ChatGPT Perplexity Claude WhatsApp X Grok Google AI

No es ningún secreto que a muchos les está chirriando la inteligencia artificial. Y yo me incluyo, tanto por redactor como por músico, y siento que es cierto que puede eliminar muchos trabajos. Pero volvemos a lo de siempre; no es la primera vez que pasa algo así, y la revolución industrial fue precisamente esto, la máquina sustituyendo al humano en muchos aspectos. Aunque a muchos no nos guste, la IA ha venido para quedarse, y no hay nada que vaya a pararla. Y por supuesto, en los videojuegos cada vez se usa más, y por compañías tan grandes como PlayStation.

Actualmente, la IA no se ha dejado ver de forma tan frecuente en los videojuegos, aunque se sabe que sí que se está usando ya con moderación en el desarrollo de títulos, y es obvio que a medida que esa tecnología se modernice, se irá instaurando más en esta industria. De hecho, PlayStation ya tiene un plan de cara a futuro, aunque no tiene nada que ver con el desarrollo de juegos, sino con la ayuda al jugador.

Guías con IA en consolas PlayStation

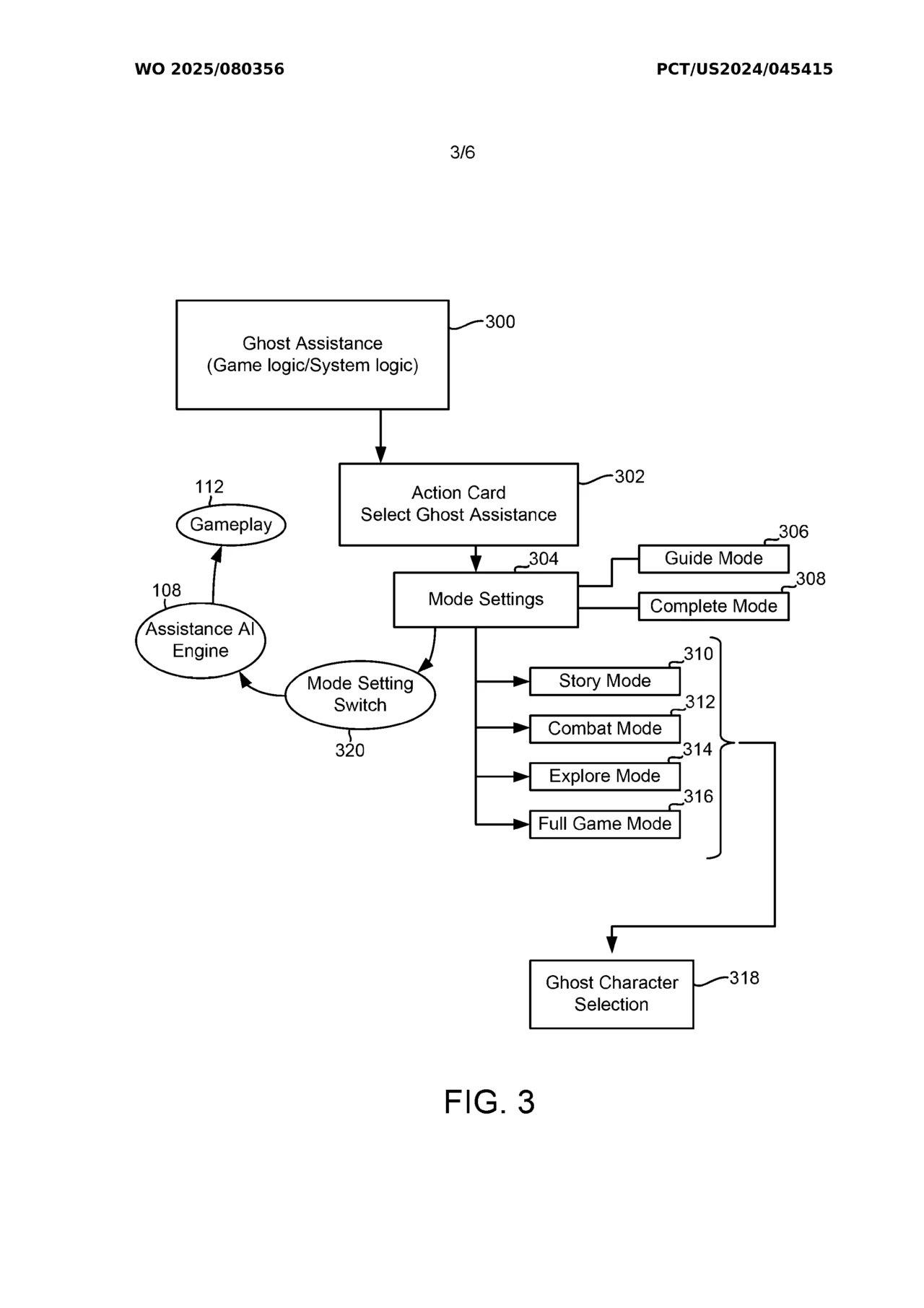
Han sido los compañeros del portal VGC los que se han hecho eco de la nueva patente que ha realizado Sony. Fue en 2024 cuando la hizo, pero se ha hecho pública esta semana, y consiste en crear un "jugador fantasma" mediante uso de la IA, que le muestre al jugador real cómo se completa una parte concreta de un nivel, o un juego entero.

image

Por supuesto, esto no quiere decir que se vaya a lanzar pronto, o incluso que se vaya a lanzar en algún momento. Las patentes a menudo se hacen públicas pero luego nunca acaban desarrollándose, por los motivos que sean. Pero se realizan para evitar que otra compañía encuentre la tecnología o recursos necesarios para desarrollar esa idea y lo haga antes que la empresa que lo ha patentado.

PS5 intentó algo así pero sin IA

Aunque a muchos les sorprenda, PS5 se lanzó con un sistema llamado "Ayuda de juego" y consistía en precisamente algo así pero sin crear jugadores fantasmas ni usar la inteligencia artificial. Servía para ayudar a los jugadores a pasar ciertos niveles o conseguir ciertos trofeos, pues te incluía un vídeo de esa parte que se podía ver desde el menú de PS5 sin necesidad de cerrar el juego. No se ha usado mucho, y no todos los juegos son compatibles con ello, pero sí que ha sido un sistema que ha gustado a los cazatrofeos.

Etiquetado en :

PlayStation Sony

Redactado por:

Responsable de videojuegos. Jugador enamorado de Persona, Zelda, Super Mario y juegos gachas, pero también me veréis escribiendo sobre PS Plus, ofertas y muchos más juegos.

CONTENIDO RELACIONADO

Se filtra la brutal RAM de 30 GB que usaría PS6, pero ¿qué significa y cuánto es comparado con PS5?

De ser real, sería un salto astronómico en comparación a las consolas actuales

Estos tres juegos de PS Plus se reinventan en PS5 con mejoras que la comunidad llevaba años pidiendo

Tres títulos clásicos reciben un salto de calidad que los hace más fluidos y jugables que nunca

Resident Evil: Requiem será más largo que Village, se ha confirmado su duración y esto es lo que tardarás en completar su historia

Si hay verdadero hype por una entrega que está por llegar en este nuevo mes de febrero que ha dado comienzo, esa es sin duda alguna, Resident Evil: Requiem. Y todo esto ha sido por culpa de Capcom, que no ha hecho más que ir sorprendiéndonos cada vez más conforme iban compartiendo más imágenes y […]

Si has visto rumores sobre un remake de Kingdom Hearts, ten mucha prudencia con ellos

Uno de los insiders más importantes de la industria ha realizado una relevante aclaración sobre los rumores

Un directivo de PlayStation suelta la bomba: se puede venir un State of Play en muy pocos días

Desde hace semanas, ya se olía que iba a tener lugar una retransmisión de este tipo en febrero

Logan no estaría solo en Marvel's Wolverine: Insomniac insinúa la llegada de otro reconocido héroe

Las últimas señales de Insomniac han provocado teorías sobre la llegada de un nuevo héroe al esperado juego

Los autores de ARC Raiders desarrollan dos juegos a la vez y ya dejan caer qué tipo de experiencia serán

Aunque no se han presentado aún, el propio estudio ya ha adelantado qué tipo de juegos serán

Horizon 3 se aleja más de lo esperado y las últimas informaciones no son nada alentadoras

Las últimas informaciones apuntan a una espera mucho más larga de lo que muchos esperaban

De 40€ a sólo 10€: PS Store derriba el precio de uno de los mejores juegos de rol de los últimos años

Tiene un 89 en Metacritic, ha ganado numerosos galardones y tiene una duración perfecta

El legendario inFamous 2 iba a ser ligeramente distinto en un principio, pero se modificó por culpa de Uncharted

Aunque no se ha explicado el motivo concreto, todo el mundo ha relacionado el cambio con la saga de Naughty Dog

Se prevé un éxito brutal para el tercer DLC de The Witcher 3, tras el cual ya sabremos más de The Witcher 4

Aunque no se ha confirmado oficialmente, es un secreto a voces que existirá otra expansión del juego

Aunque gracias a PS Plus solo cueste 1€ en PS Store, ni se te ocurra comprarlo

Aunque la rebaja puede ser muy suculenta, se aconseja evitarla por una sencilla razón