
Sony ha patentado un sistema para generar podcasts personalizados de forma automática con Inteligencia Artificial que se reproducirían en su plataforma (presumiblemente PS6, o puede que incluso PS5) que estarían "presentados" por personajes icónicos de PlayStation, como podrían ser Kratos, Aloy, Ellie o Nathan Drake, gracias a la utilización de sus voces con esta IA generativa. Un uso que se aleja bastante de lo que esperábamos ver dentro de la industria de los videojuegos.
Tal y como han descubierto en Tech 4 Gamers, esta nueva patente se ha presentado bajo el nombre de "LLM-Based Generative Podcasts for Gamers", un nombre muy apropiado para esta tecnología que permitiría generar un podcast diario personalizado para cada jugador, que incluiría noticias, actualizaciones y recomendaciones sobre la actividad del usuario. Es decir, que se adaptaría a cada jugador dependiendo de sus juegos, intereses e incluso logros de sus amistades virtuales.
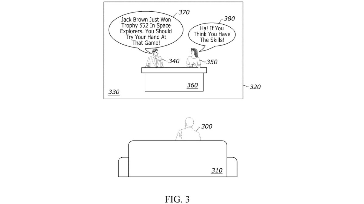
En lugar de introducir mensajes en texto o indicadores de publicidad (como se hace ahora dentro del sistema PS5), este podcast hablaría con la voz de un personaje de PlayStation que, probablemente, el propio jugador podría seleccionar. La IA generativa sería capaz de generar el guion y las voces sintéticas que se encargarían de reproducirlo cada vez que el jugador iniciara la consola.
La propia patente de Sony indica que el objetivo de esta tecnología pasa por compensar la falta de "contenidos únicos y dirigidos" en las plataformas de videojuegos, e incluso plantea la posibilidad de que dos personajes realicen el podcast en conjunto, en lugar contar con una única voz, para que haya algún tipo de interacción entre ellos. El futuro, quizás, pasa por ver cómo Kratos y Nathan Drake discuten en tu PS6 mientras te cuentan qué juegos están en oferta, quién lo iba a decir.
Al ser una patente, se presentan múltiples escenarios. Es posible que Sony sólo haya presentado la idea y esté en un primer paso de exploración (por eso, lo más sensato es que se introduzca en PS6, su próxima consola) o que se termine desechando y jamás llegue a ser algo real. Lo que sí indica es que PlayStation, claramente, está explorando las posibilidades de la IA generativa para introducirla de alguna manera en su sistema, probablemente pensando en la próxima generación.
NOTICIAS RELACIONADAS