Un podcast diario presentado por personajes de PlayStation: la manera más inesperada de utilizar IA podría verse en PS6
Últimas fichas
Últimas noticias
Últimas guías

Últimos análisis

Un podcast diario presentado por personajes de PlayStation: la manera más inesperada de utilizar IA podría verse en PS6

Esta nueva patente de Sony utilizando IA podría darnos una pista de la posible PS6.

Pub:
0

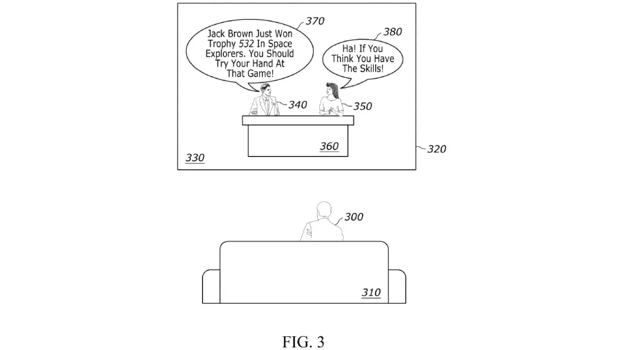
Sony ha patentado un sistema para generar podcasts personalizados de forma automática con Inteligencia Artificial que se reproducirían en su plataforma (presumiblemente PS6, o puede que incluso PS5) que estarían "presentados" por personajes icónicos de PlayStation, como podrían ser Kratos, Aloy, Ellie o Nathan Drake, gracias a la utilización de sus voces con esta IA generativa. Un uso que se aleja bastante de lo que esperábamos ver dentro de la industria de los videojuegos.

Una extraña patente de IA de Sony

Tal y como han descubierto en Tech 4 Gamers, esta nueva patente se ha presentado bajo el nombre de "LLM-Based Generative Podcasts for Gamers", un nombre muy apropiado para esta tecnología que permitiría generar un podcast diario personalizado para cada jugador, que incluiría noticias, actualizaciones y recomendaciones sobre la actividad del usuario. Es decir, que se adaptaría a cada jugador dependiendo de sus juegos, intereses e incluso logros de sus amistades virtuales.

En lugar de introducir mensajes en texto o indicadores de publicidad (como se hace ahora dentro del sistema PS5), este podcast hablaría con la voz de un personaje de PlayStation que, probablemente, el propio jugador podría seleccionar. La IA generativa sería capaz de generar el guion y las voces sintéticas que se encargarían de reproducirlo cada vez que el jugador iniciara la consola.

Patente de IA de Sony

Contenidos únicos en consola

La propia patente de Sony indica que el objetivo de esta tecnología pasa por compensar la falta de "contenidos únicos y dirigidos" en las plataformas de videojuegos, e incluso plantea la posibilidad de que dos personajes realicen el podcast en conjunto, en lugar contar con una única voz, para que haya algún tipo de interacción entre ellos. El futuro, quizás, pasa por ver cómo Kratos y Nathan Drake discuten en tu PS6 mientras te cuentan qué juegos están en oferta, quién lo iba a decir.

Al ser una patente, se presentan múltiples escenarios. Es posible que Sony sólo haya presentado la idea y esté en un primer paso de exploración (por eso, lo más sensato es que se introduzca en PS6, su próxima consola) o que se termine desechando y jamás llegue a ser algo real. Lo que sí indica es que PlayStation, claramente, está explorando las posibilidades de la IA generativa para introducirla de alguna manera en su sistema, probablemente pensando en la próxima generación.

Redactado por:

Periodista especializado en videojuegos, tecnología y entretenimiento. Multidisciplinar, con más de 10 años de experiencia ininterrumpida en el mundo digital, liderando equipos de redacción, redes sociales y contenido multimedia en algunos de los medios más importantes de España. Apasionado y dedicado, actualmente crea contenido en SPORT y Areajugones.

CONTENIDO RELACIONADO

Assassin’s Creed Black Flag Resynced ya se puede reservar más barato en Xtralife (¡oferta sorpresa!)

Esta es la plataforma en la que se encuentra la entrega de Ubisoft al mejor precio, ¡aprovéchala!

Lo siento, pero cada vez me gustan más los juegos como Saros: su duración hace evidente que menos es más

Ya sabemos cuánto dura el nuevo juego exclusivo de PS5 y la cifra de horas es similar a la de Returnal

No había caído en ello, pero los fans tienen razón: Assassin's Creed: Black Flag Resynced podría poner en peligro la esencia de la saga

Ubisoft ha confirmado que suprimirá un elemento muy criticado del original, pero que al mismo tiempo es necesario para comprender el universo de la franquicia

Tomodochi Life y Pragmata destacan entre los videojuegos más vendidos en España durante la semana 16

Tomodachi Life Living a Dream se corona como el mejor lanzamiento de Nintendo desde Pokémon Leyendas Z-A.

La cuenta atrás por Saros ya ha comenzado: estos son los horarios de lanzamiento por países

El juego prepara su lanzamiento global con horarios ya fijados tanto en formato físico como digital

Llevo suscrito dos años a PS Plus Premium y te cuento algo importante para que tú no cometas el mismo error que yo

Lo que parecía una buena inversión terminó siendo una lección que ojalá alguien me hubiera contado antes

Sigo encantado con Assassin's Creed: Black Flag Resynced, pero espero que este remake resuelva la peor incoherencia de su argumento

Todos sabemos que el Assassin's Creed IV: Black Flag era un juego excelente, pero posee cierto detalle al principio del juego que fue muy criticado en su momento con razón

Mi spin-off favorito tiene un 75% de descuento en la PS Store, y además es su edición Digital Deluxe

Ha sido una de las secuelas no-canónicas mejor valoradas de los últimos diez años

Si me sobrase el dinero, lo compraría todo: Final Fantasy X cumple 25 años y Square Enix lo celebra con artículos de coleccionista exclusivos

Se trata de un sed de producto que estará disponible como evento para celebrar los 25 años del lanzamiento de Final Fantasy X

Buenas noticias para los amantes del MMA: EA Sports UFC 6 filtra su lanzamiento para este mes de junio

La sexta entrega de simuladores de artes marciales mixtas revela su fecha exacta de salida a pocas semanas de que se produzca.

Alien: Isolation 2 asoma y ya me tiene en tensión: el nuevo teaser que dice mucho sin enseñar casi nada

El regreso del terror espacial deja un adelanto breve, pero suficiente como para volver a ilusionarnos